

咨詢熱線:18151922896
聯系電話:025-84312185
傳真:025-84312185
網址:
郵箱:juhangvsr@163.com
地址:南京市光華路156號
某廠家新研發一種新型雙幅板組合滑輪,為了驗證雙幅板組合滑輪的安全性和可靠性,工廠制作了一個實驗滑輪,委托南京聚航科技有限公司對其進行應力測試試驗。
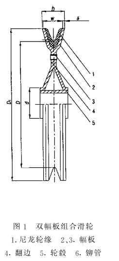
雙幅板組合滑輪結構及測點位置介紹
雙幅板組合滑輪結構如下圖所示,其兩塊鋼質圓盤形幅板通過翻邊4與輪轂5結合,同時,圓盤形幅板的圓周上開有一定數量的鉚管孔,由空心鉚管6將兩塊圓盤形幅板2牢固地鉚在一起,組合成為一個鋼制輪體。輪緣1是具有開口的尼龍圓環,其截面呈楔形,嵌入兩幅板構成的凹槽內,由于自鎖作用,輪緣1不需要緊固件緊固而牢靠地固定在輪體上,更換方便,輪緣被鋼絲繩磨損報廢后,只需更換輪緣,這尼龍輪緣對鋼絲繩的磨損比鋼質輪緣要小得多,這就大大提高了鋼絲繩和滑輪的壽命。

雙幅板組合滑輪的輪幅截面中兩塊幅板2經壓制呈“A”形,不同于“1”形開口截面,是一種閉口截面。在相同載荷作用下,在“A”形截面上產生的最大剪應力、約束扭轉正應力和約束扭轉剪應力小于“1”形開口截面,因此“A”形截面的滑輪整體穩定性和局部穩定性好于“1”形截面的滑輪。由于應力小,滑輪的幅板厚度就可減小,從而減小滑輪的自重。
試驗滑輪的主要結構參數如下;
繩槽底徑:D=480mm
滑輪外徑:D1=580mm
輪轂孔徑:d=85mm
輪緣寬度:b=85mm
尼龍輪緣寬度:w=65mm
鉚管數量:9個mm
根據試驗滑輪繩槽半徑,選用加載鋼絲繩直徑為28.5mm,取鋼絲繩的安全系數n=6,鋼絲繩的破斷張力Tb=473.45KN,額定張力約8t。取4t和8t兩級加載,其目的是為了檢查和測量滑輪在輕載和滿載條件下的應力和技術狀況。
試驗工況是當測點H2、H5、H7、H9分別在垂直位置時加載試驗。目的是考核在同一位置和不在同一位置加載時各測點的應力和技術狀況。

應力測試結果分析
因為實驗滑輪是雙幅板組合滑輪,也是板結構,受力情況復雜,所以我們分析應力測試結果時,結構上是從輪轂到輪幅,受力方向上是從滑輪的圓周方向到滑輪的直徑方向4個層次。
測點H1、H2、H9在輪幅圓孔的正上方,H1在滑輪的另一側,位置與H2相對應,H5和H7分別布置在兩鉚管孔圓心連線的中垂線上。H5布置在緊靠尼龍輪緣開口的地方。
如果試驗滑輪的輪幅上沒有圓孔,尼龍輪緣上沒有開口,應該說這5個測點的受力情況應基本一樣。正因為存在上述情況,所以測試結果就不同了,H5與H7相比,因為H5布置在緊靠尼龍輪緣的開口上,它受到一個集中力的影響,無論在哪種情況下加載,H5點的應力值都要比H7點大一倍甚至更多。H5、H7和H2、H9相比,因為H2、H9布置在鉚管孔的正上方,由于鉚管孔的存在,大大削弱了這里的強度,測試結果也表明了這一點。例如,H9無論在何種情況下加載,它的應力值都在48MPa左右,而H5點應力值只有16MPa左右,H7點應力值則更小,但H2點的應力值卻達到139.2MPa。因為對H2的測試結果有疑問,所以對H2進行了兩次貼片,多次測試,其結果都是一樣。對于這種異常情況,我們從H2、H5和H7、H9測點處繩槽在滿載時的張開量上找原因,滿載時,H5、H7和H9位置的繩槽張開量為0.2mm。H2位置的張開量為0.25mm。說明H2處的剛度較差。這可能是造成H2應力異常的直接原因。如果想要一個較為合理地解釋,最好再做一只和試驗滑輪完全一樣的滑輪,尼龍開口位置也完全相同,進行對比試驗就清楚了。
H6本應粘貼在輪幅圓孔輪緣之間的輪幅上,因為這里沒有位置貼片,我們只好偏斜一個位置貼應變片H6,它和H8同在一個圓周上。試驗滑輪是組合式的,由兩片組合而成的輪幅上的圓孔是空心鉚管的孔。我們把在滑輪與鉚管孔同直線、鉚管到輪緣這一狹長條單獨取出來,他就是一個壓彎組合的懸臂梁,其根部的剪應力最大。H6接近這個位置,基本反應原來位置的受力情況。而H8與它有所區別,所以H6無論在何情況下加載,應力值都在86MPa左右,H8只有75MPa左右。測試結果與理論分析基本上一致的。
A、D、F這三個測點與空鉚管的圓心同在一個圓周上,都是應變花,如果沒有尼龍輪緣的開口,鉚管的外壁與輪幅都是同樣均勻地緊密結合,則這三個測點的應力值都應相同或者接近。但是應變花A是粘貼在尼龍輪緣的開口上,也就是說鋼絲繩對輪緣的壓力沒有直接傳遞到應變花A上。所以無論在何種工況下加載,A點的三個應變片的應力值都遠遠小于D和F相對應的三個應變片的應力值。D和F的應力值也有差異,但不是很大。造成差異的原因可能是因為輪幅是板結構,受力復雜,再就是鉚管與幅板鉚接時鉚管外壁與幅板配合的間隙沿圓周都不盡相同。
A、D、F這三個測點應力值在幅板上是相對較小的,這與它所處的位置有關。
測點B、C、F同處一個圓周上,緊靠輪轂附近。理論和測試結果都表明這個部位也是滑輪輪幅上受力較大的地方。但是,由于這三個點又處于不同的直徑上,所以它們的測量值又有很大的差異。B應變花處在與A同一直徑上,正對著尼龍輪緣的開口,只有當H5在垂直位置加載時,應變花B的1、2、3片的應力值才稍微大于C和E所對應的應變片的應力值。其他工況下,均大大小于C和E的值。C和E相比較,除H5在垂直位置加載以外的任何工況,E點的測試值都大于C點的值。其原因就是C點處在與通過鉚管中心的直徑上,力的傳遞因空心鉚管而有所減弱。
此外,從滑輪的直徑方向來看,滑輪輪幅的受力情況,組合滑輪的結構決定了滑輪輪幅在直徑方向靠近輪緣和輪轂處的應力值最大,而處于與鉚管中心同一圓周上附近的應力相對較小,測試結果也充分說明了這一點。
結語
由于試驗滑輪是組合結構,受載后結構體內的應力變化與載荷分布較為復雜,從4t到8t的兩級加載中,有的測點應力值不呈線性變化。但是所有測點的應力值均小于Q23J鋼的許用應力值[σ],當載荷為100%額定載荷時,位于幅板繩槽根部的測點H2處最大應力雖已達139.2MPa,但仍小于材料的許用應力值[σ]。所以廠家這種雙幅板組合滑輪的承載能力滿足安全性能要求,尼龍輪緣與輪體結合牢固,試驗中無變形、檢脫、異常聲響等情況。能滿足各類鋼絲繩驅動的工作需要。
以上就是雙幅板組合滑輪應力測試介紹,如果想要了解更多詳情,可咨詢南京聚航科技有限公司,我們歡迎您的聯系。